Svetshjälm Automatisk ClearView XL
Med teknik för realistisk färgåtergivning anpassad för TIG-svetsning >5 Amp. Med stor siktyta : 100 x 80 mm och snabb omslagstid till mörkt, men även från mörkt till ljust. Drivs av solceller med batteribackup. Har en justerbar reaktionstid, samt både ett slipläge och en testfunkion. Är utrustad med hållare för förstoringsglas.
Teknisk specifikation
Siktyta: 100x80mm
Filterstorlek: 133x114x10mm
Ljust läge: 4 DIN
Mörkt läge: 5-9 DIN (Steg 1)
9-13 DIN (Steg 2)
Omslagstid: 1/25000 sekunder
Känslighet: Låg till hög med steglös justering
Fördröjning: Snabb till långsam steglös ljustering
Sensorer: 4
Omslagstid mörkt till ljust: 0,2-1,0 sekunder
Strömkälla: Solcell och backup med 2 x CR2450 utbytbara litiumbatterier
On/Off-funktion: Automatisk
TIG Amp: 5 amp
Slipläge: Ja, DIN 4
ADF självkontroll: Testknapp
Batterivarning: Röd lampa
UV- IRskydd: Kontinuerligt till DIN 16
Användnings temperaturområde: Kontinuerligt mellan -5 till +55°C
Vikt: 590 g
Förbrukning och reservdelar
Främre skyddsglas mått: 136x121mm
Artikelnummer: 399200
Inre svetsglas mått:106x86mm
Artikelnummer: 602360
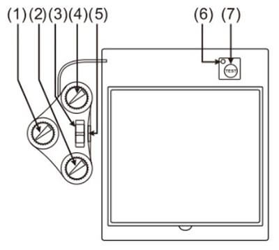
Kontroller

1. Variabel DIN kontroll
2. Känslighetskontroll
3. Svets- sliplägesjustering
4. Justering av fördröjning
5. Batterihus
6. Batteriindikatorlampa
7. ADF-knapp för självkontroll
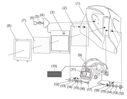
Sprängskiss

1. Skal
2. Främre skyddsglas
3. Automatiskt svetsfilter
4. Kontrollenhet
5. Batteri
6. Batterihus
7. Inre Svetsglas
8. Låsram
9. Huvudbindsle
10. Svetband
11. Justermutter
12. Mutter
13. Bricka
14. Vinkelplatta
15. Uppsättningsplatta
16. Mutter
17. Skruv