1.   Hem »
  2. Maskiner och Verktyg
  3. » Arbetsplats och Verkstad
  4. » Skruvstycke och Smidesstäd
  5. » Smidesstäd Durlach

Smidesstäd Durlach

Smidesstäd av högsta kvalitet. Tillverkat i smitt stål med två hål för infässtning av smidestillbehör. Härdad, slipad och polerad arbetsyta. Mer info

Smidesstäd Durlach

Smidesstäd av högsta kvalitet. Tillverkat i smitt stål med två hål för infässtning av smidestillbehör. Härdad, slipad och polerad arbetsyta. (54-62 HRC) Beställningsvara, leveranstid vanligtvis cirka 5-7 arbetsdagar. Mått angers i milimeter.

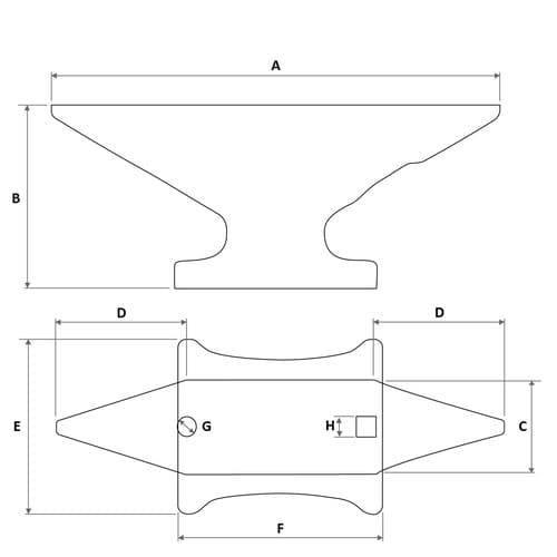
Skiss Smidesstäd Durlach

skiss Smidesstäd Durlach
Skiss föreställer smidesstäd, dess storlek finns att avläsa i tabellen

Storlek och mått Smidesstäd Durlach

I tabellen hittar du måtten på respektive smidesstäd, förklaring och tecken illustreras tydligt i skiss.
Skissens teckenABCDE x FGH
 Vikt Längd Höjd Bredd Horn Basen Hål Fyrkantshål
 20 kg 390 155 80 110 140x165 20 22x22
 30 kg 475 200 95 135 170x195 20 22x22
 40 kg 550 220 110 160 210x250 23 25x25